
General Motors semble avoir aimé l’idée initialement avancée par la marque de camions électriques Rivian d’intégrer un auvent au toit de ses véhicules. C’est un moyen ingénieux de protéger les occupants de la pluie ou de la neige quand ils entrent ou ils sortent de l’habitacle. Et si Rivian propose un auvent qui se dépose sur le porte-bagages, GM pense qu’il serait possible de l’encastrer directement dans le toit de ses camionnettes.
C’est en tout cas le concept pour lequel le constructeur américain a fait une demande de brevet auprès du bureau américain des brevets. La demande a été faite en 2023, mais l’USPTO a publié la demande seulement dans les derniers jours. Les constructeurs raffolent de ces inventions, qui ne voient pas souvent le jour, cela dit.
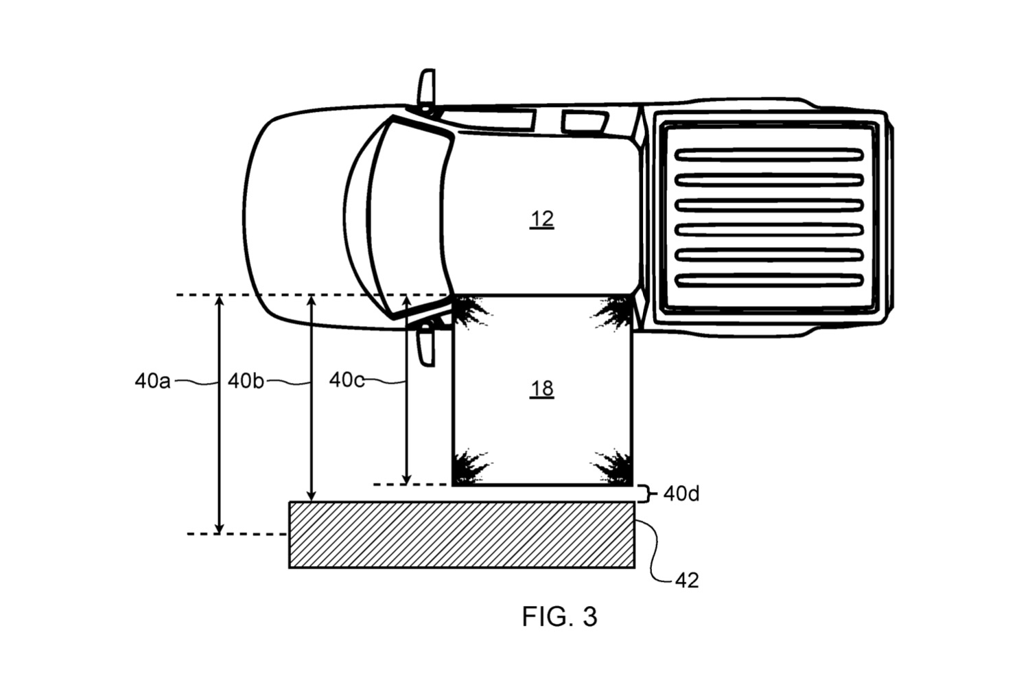
Sur les esquisses soumises à l’agence américaine, on voit un auvent qui couvrirait les deux portières du côté conducteur, d’une camionnette comme le Silverado, de Chevrolet.
Dans sa demande, General Motors illustre un auvent à déploiement automatisé qui ferait environ 3 mètres x 3 mètres et qui pourrait donc se dérouler (ou pas) en fonction de différents facteurs pris en compte par l’ordinateur de bord. Par exemple, le véhicule l’étendrait à l’approche du conducteur, si la météo est inclémente, et si les données tirées des caméras indiquent qu’il y a suffisamment d’espace pour le faire.
Ce que GM propose, donc, est un accessoire qui serait plus utile que l’auvent des camions de Rivian, qui semblent plus axés sur le camping ou les fameux partys de tailgate d’avant-match, dans le stationnement du stade de football de leur équipe favorite, et dont les Américains raffolent.
C’est certainement ingénieux comme proposition. Et l’auvent, un accessoire qu’on trouve généralement sur le côté passager de véhicules récréatifs, est vraiment plaisant à avoir quand, justement, on sort de son VR et qu’on veut être à l’abri de la météo.
De là à voir ça de série sur une camionnette Chevrolet? On se garde une petite gêne…
Le texte GM pense à un auvent encastré au toit de ses camionnettes provient de L’annuel de l’automobile – Actualité automobile

