
Une table pliante. On les voit dans les avions, où elles permettent de déposer un cabaret, un verre, un ordinateur portable ou plein d’autres choses, dans un équilibre pas toujours évident. Or, voilà que Ford songe à développer le même genre de tables repliables et qui s’installeraient à l’avant de ses véhicules, entre le siège du conducteur et celui du passager.
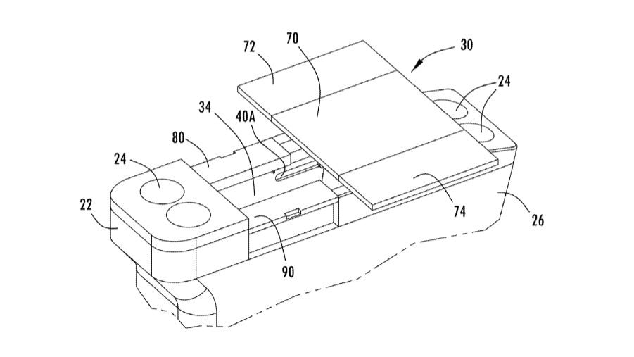
C’est en tout cas le contenu d’une demande de brevet faite par Ford auprès du Bureau américain des brevets, et que celui-ci vient de publier. La demande en question prend la forme d’une console centrale comme celles qu’on trouve entre les sièges avant d’à peu près tous les véhicules modernes, y compris des camionnettes comme la F-150. On trouve deux porte-gobelets à l’avant, un espace de rangement en son centre et deux porte-gobelets à l’arrière, pour les occupants de la banquette.
Et sur la portion supérieure du rangement central, on trouve un appuie-coude qui peut être déplié des deux côtés pour créer une espèce de table qui déborderait à la fois du côté conducteur et du côté passager.
On n’a pas mentionné le F-150 par hasard. Ford semble avoir réalisé que bien des propriétaires d’une camionnette étaient des travailleurs qui passaient de nombreuses heures à bord de leur véhicule pour remplir de la paperasse, entre autres. On a d’ailleurs déjà un F-150 dont le levier de transmission peut être rabattu pour faire de la place pour une grande surface de travail.
On peut facilement imaginer un F-150 de prochaine génération, électrique ou à essence, qui n’aura pas de levier de transmission et qui aura donc plus de place disponible pour installer un accessoire comme cette table repliable.
On peut aussi imaginer que Ford pourrait mousser sa technologie d’aide avancée à la conduite BlueCruise en suggérant qu’il sera possible de laisser le véhicule se conduire par lui-même sur certaines distances, ce qui permettra au conducteur de faire autre chose alors qu’il est en déplacement. Par exemple, casser la croûte, ou compléter les mots croisés du journal du jour.
À suivre…
Le texte Ford songe à installer des tables pliantes à l’avant de ses véhicules provient de L’annuel de l’automobile – Actualité automobile

